歡迎來到安平縣慕源絲網製造有限公司官方網站

收藏本站| 聯係我們| 網站地圖

慕源 用戶放心的生產廠家隻生產優質產品

全國服務熱線:

安平縣慕源絲網製造有限公司

聯係人:石經理

手機:

郵箱:

郵編:053600

地址:河北省衡水市安平縣南環工業區,慕源網業

當前位置:網站首頁 >> 技術中心

汽車卸糧格柵的安裝及選型指導

目前國內麵粉廠、糧庫等場地的卸糧坑的工藝流程為:袋裝原糧或車載散糧—卸糧坑—刮板輸送機—鬥式提升機—清理設備—計量裝置—鬥式提升機—倉頂輸送機—入倉儲存。

卸糧坑在入口處需要采用能夠足以承載卸糧車還能夠有一定孔距來使糧食進入卸糧坑的材料來搭建。所以,重載荷鋼格柵板稱為麵粉廠卸糧坑優先選擇的入口格柵。

舉個栗子。

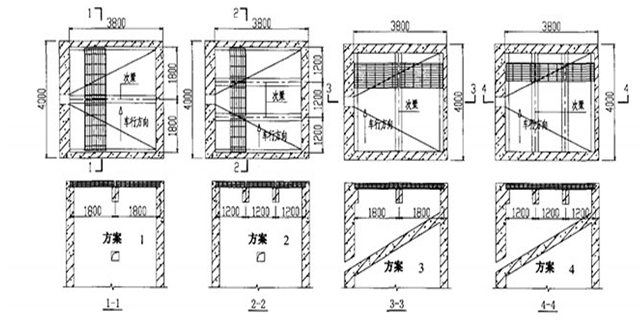
某糧食儲備庫一汽車卸糧坑,其上部鋪設重荷載壓焊鋼格板,卸糧坑平麵尺寸38mx40m,其平麵及剖麵詳見圖1

卸糧格柵


考慮到卸梁坑上直接鋪鋼格板,跨度較大,采取卸梁坑上部布置次梁的方式減小壓焊鋼格板跨度。以下列出4種方案,

方案1:沿橫向布置1道次梁;

方案2:沿橫向布置2道次梁;

方案3:沿縱向布置1道次梁;

方案4:沿縱向布置2道次梁;

方案1及方案3的壓焊鋼格板采用130millX10mmX50mm(XX間距)的承載扁鋼與包邊板及橫杆通過壓力電阻焊固定而成,方案2及方案4的壓焊鋼格板采用110minx8mmx50mm(××間距)的承載扁鋼與包邊板及橫杆通過壓力電阻焊固定而成,承載扁鋼均采用Q235B級鋼材。

可以說重載荷型鋼格柵板就是為了承載重噸位車輛設計的。被廣泛應用於工廠、車間、礦業、港口、matou,erzhexiechangdishichangyouzhongxingcheliangjingguo,jiyaokaolvrenxingdeanquan,tongshiyeyaomanzucheliangzaiqishangxingshidexuyao,zhejiuduiganggezhabantichulegenggaodechengzailijigangduyaoqiu。yinci,duizhexieteshuchanghedezhonghezaiganggezhabanyingjinxingzhuanmendesheji。

 相關推薦:
  鋼格板

相關產品
    暫無數據!